USP Icon
Pay after delivery
USP Icon
Customers rate Zandri 9
USP Icon
More than 100,000 parts in the assortment

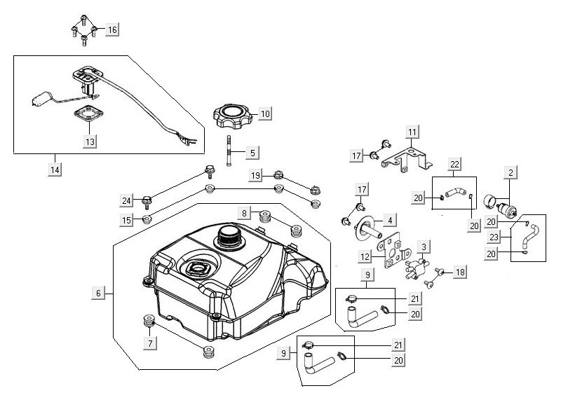
Fuel tank Kymco MXU 300R

Fuel tank Kymco MXU 300R
loader
Loading...