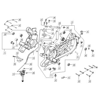
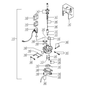
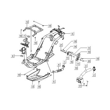
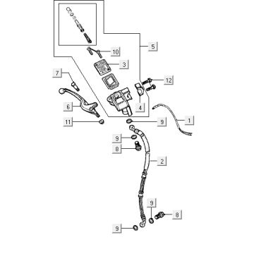
Technical drawings for Kymco Vitality 2-stroke blue
Click here on the technical drawings or exploded view of the Kymco Vitality 2-stroke blue for which you are looking for parts or accessories. The technical drawings of the Kymco Vitality 2-stroke blue give you a clear overview of the various matching parts and accessories. By searching for your parts, you will always have suitable parts for your Kymco Vitality 2-stroke blue.


