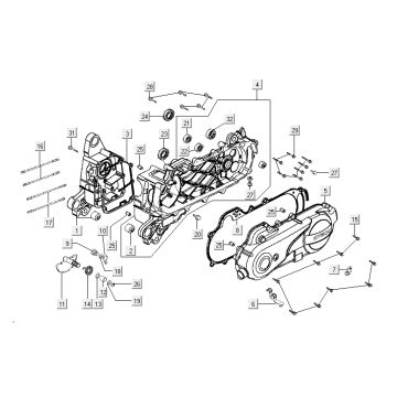
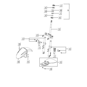
Technical drawings for Kymco Agility 10' 4-stroke sporty blue
Click here on the technical drawings or exploded view of the Kymco Agility 10' 4-stroke sporty blue for which you are looking for parts or accessories. The technical drawings of the Kymco Agility 10' 4-stroke sporty blue give you a clear overview of the various fitting parts and accessories. By searching your parts, you will always have suitable parts for your Kymco Agility 10' 4-stroke sporty blue.


