USP Icon
Pay after delivery
USP Icon
Customers rate Zandri 9
USP Icon
More than 100,000 parts in the assortment

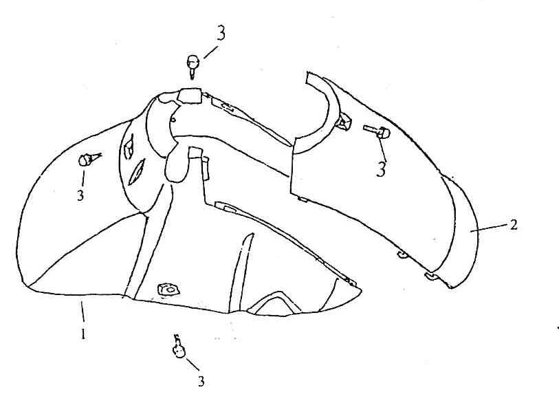
Front fender Vom Bella Retro white black

Front fender Vom Bella Retro white black
loader
Loading...

Spare parts Vom Bella Retro white black