USP Icon
Pay after delivery
USP Icon
Customers rate Zandri 9
USP Icon
More than 100,000 parts in the assortment

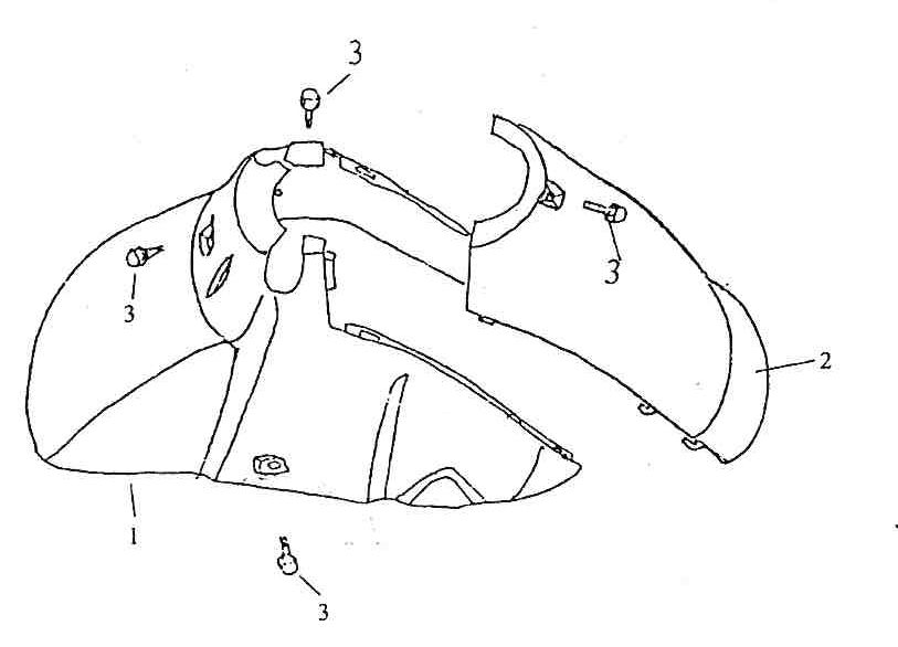
Front fender BTC Grande Retro anthracite

Front fender BTC Grande Retro anthracite
loader
Loading...

Spare parts BTC Grande Retro anthracite