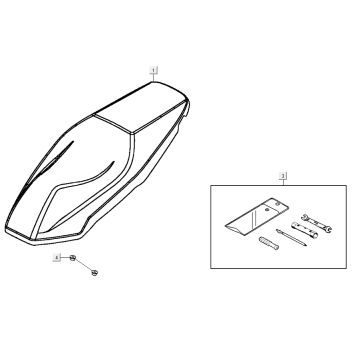
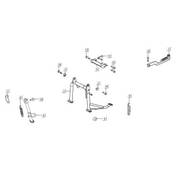
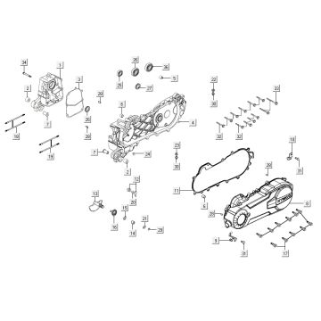
Technical drawings for Kymco Agility 16'+ 4t matte metallic blue
Click here on the technical drawings or exploded view of the Kymco Agility 16'+ 4t matte metallic blue for which you are looking for parts or accessories. The technical drawings of the Kymco Agility 16'+ 4t matte metallic blue give you a clear overview of the various matching parts and accessories. By searching your parts, you will always have suitable parts for your Kymco Agility 16'+ 4t matte metallic blue.


