USP Icon
Pay after delivery
USP Icon
Customers rate Zandri 9
USP Icon
More than 100,000 parts in the assortment

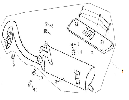
Exhaust Sons Grand Retro black

Exhaust Sons Grand Retro black
loader
Loading...

Parts Znen Aurora IV black