USP Icon
Pay after delivery
USP Icon
Customers rate Zandri 9
USP Icon
More than 100,000 parts in the assortment

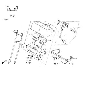
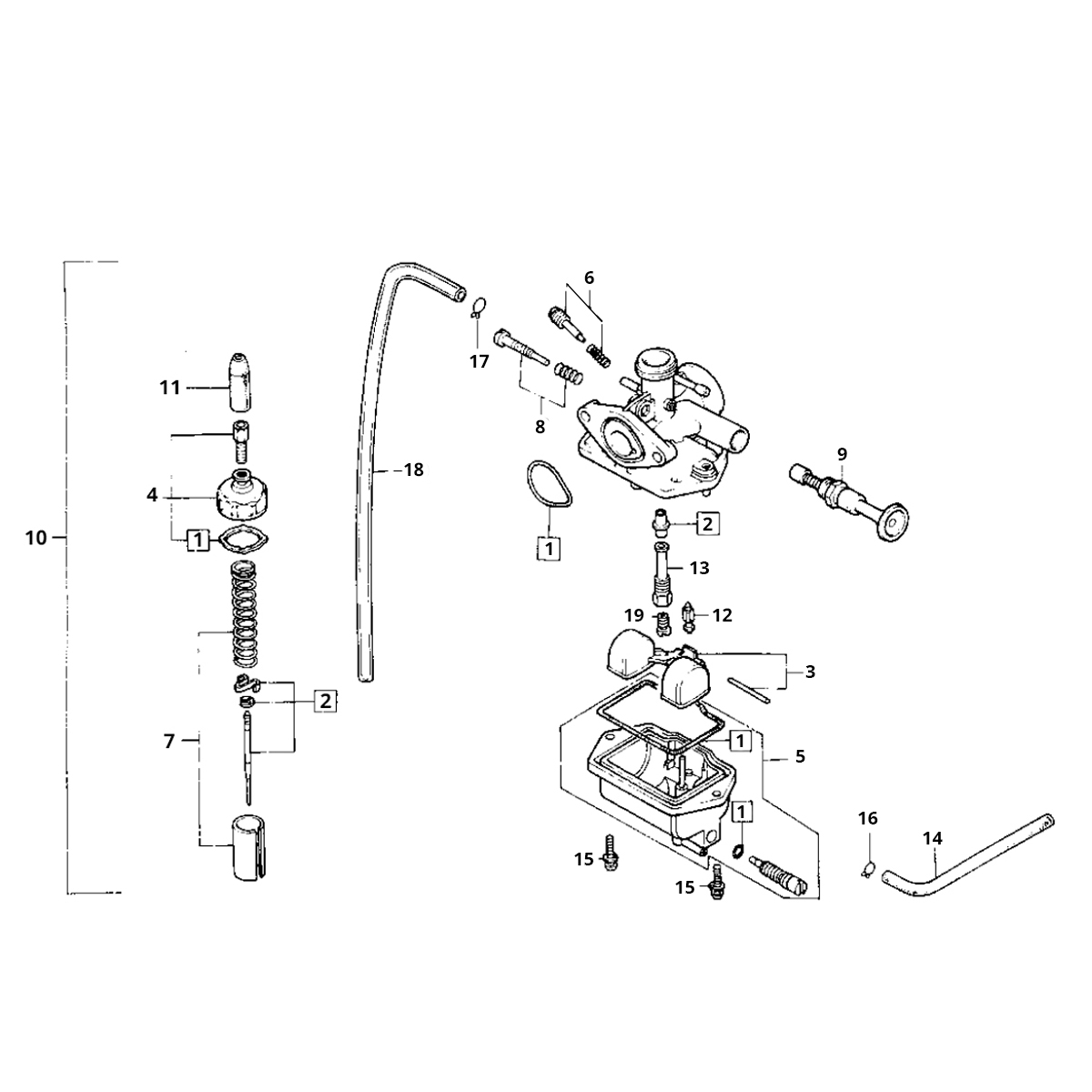
Honda MB/MT/MTX 80 carburetor

Honda MB/MT/MTX 80 carburetor
loader
Loading...