USP Icon
Pay after delivery
USP Icon
Customers rate Zandri 9
USP Icon
More than 100,000 parts in the assortment

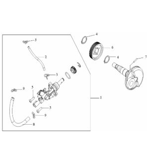
Variateur Generic Ideo cream 2007 2-stroke 25

Variateur Generic Ideo cream 2007 2-stroke 25
loader
Loading...

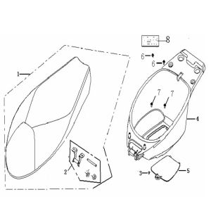
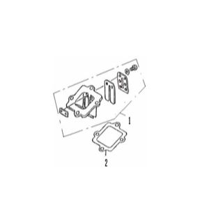
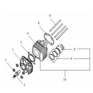
Spare parts Generic Ideo beige 2007 2-stroke 25km/h