USP Icon
Pay after delivery
USP Icon
Customers rate Zandri 9
USP Icon
More than 100,000 parts in the assortment

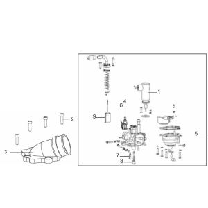
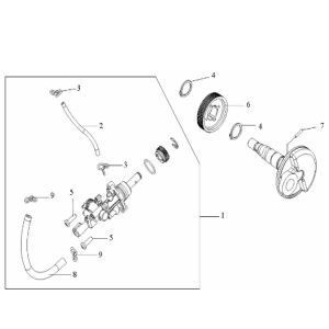
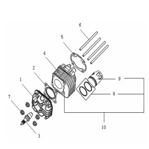
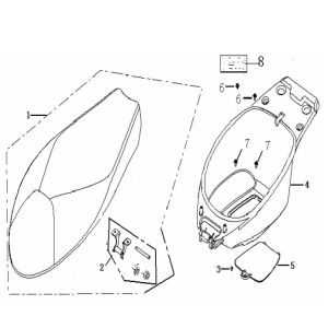
Variator Generic Ideo copper 2010 2-stroke 25

Variator Generic Ideo copper 2010 2-stroke 25
loader
Loading...

Spare parts Generic Ideo copper 2010 2-stroke 25km/h