USP Icon
Pay after delivery
USP Icon
Customers rate Zandri 9
USP Icon
More than 100,000 parts in the assortment

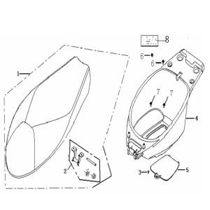
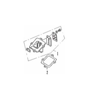
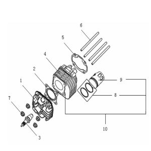
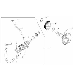
Variateur Generic Ideo blue 2010 2-stroke 25

Variateur Generic Ideo blue 2010 2-stroke 25
loader
Loading...

Spare parts Generic Ideo blue 2010 2-stroke 25km/h