USP Icon
Pay after delivery
USP Icon
Customers rate Zandri 9
USP Icon
More than 100,000 parts in the assortment

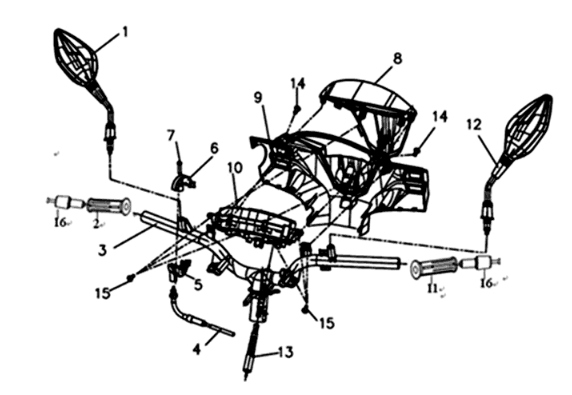
Throttle cable/counter cover Sym Symphony ST 200I White (WH-006)

Throttle cable/counter cover Sym Symphony ST 200I White (WH-006)
loader
Loading...