USP Icon
Pay after delivery
USP Icon
Customers rate Zandri 9
USP Icon
More than 100,000 parts in the assortment

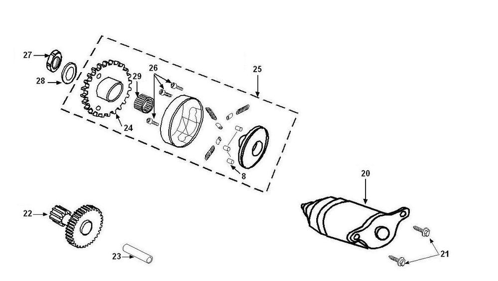
Starter Peugeot Tweet 4-stroke

Starter Peugeot Tweet 4-stroke
loader
Loading...