USP Icon
Pay after delivery
USP Icon
Customers rate Zandri 9
USP Icon
More than 100,000 parts in the assortment

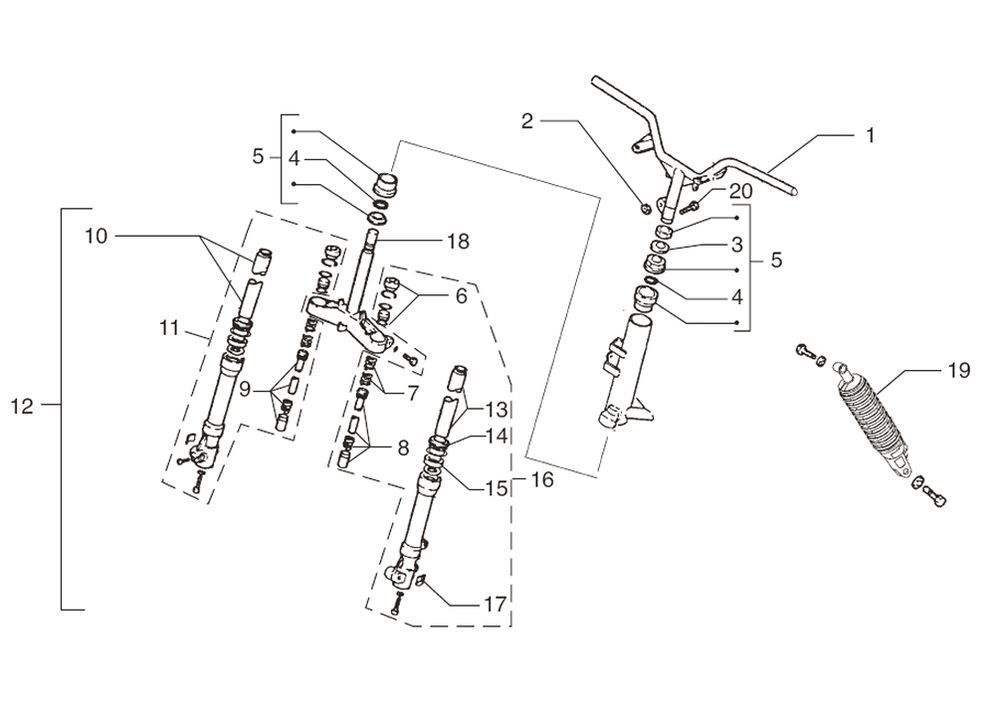
Suspension Beta Ark-k AC blue 2006 2-stroke

Suspension Beta Ark-k AC blue 2006 2-stroke
loader
Loading...