USP Icon
Pay after delivery
USP Icon
Customers rate Zandri 9
USP Icon
More than 100,000 parts in the assortment

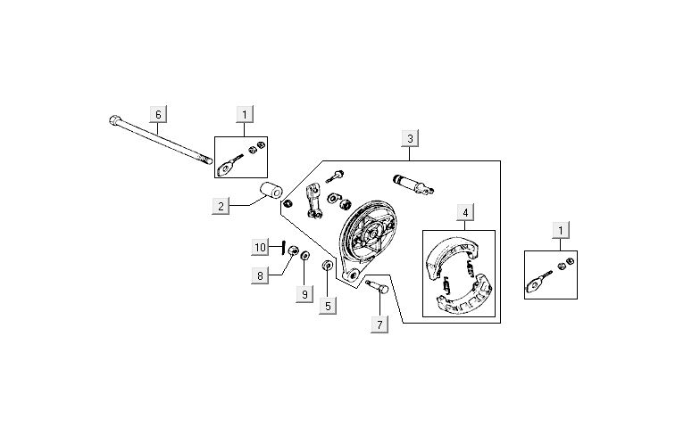
Rear brake Kymco Activ 4-stroke silver

Rear brake Kymco Activ 4-stroke silver
loader
Loading...

Spare parts Kymco ACtiv 4-stroke silver