USP Icon
Pay after delivery
USP Icon
Customers rate Zandri 9
USP Icon
More than 100,000 parts in the assortment

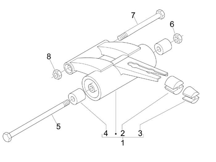
Subframe Piaggio Zip 2000 2-stroke AC

Subframe Piaggio Zip 2000 2-stroke AC
loader
Loading...

Spare parts Piaggio Zip 2000 2-stroke AC red dragon 894