USP Icon
Pay after delivery
USP Icon
Customers rate Zandri 9
USP Icon
More than 100,000 parts in the assortment

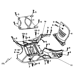
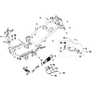
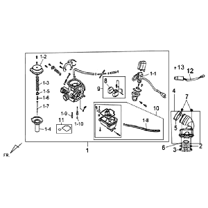
Clutch Sym Fiddle II (BK-7C) iron gray

Clutch Sym Fiddle II (BK-7C) iron gray
loader
Loading...

Spare parts Sym Fiddle II (BK-7C) Iron grey