USP Icon
Pay after delivery
USP Icon
Customers rate Zandri 9
USP Icon
More than 100,000 parts in the assortment

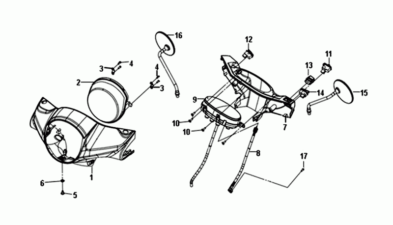
Headlight Kpl Dashboard Sym Fiddle III white (WH-006)

Headlight Kpl Dashboard Sym Fiddle III white (WH-006)
loader
Loading...