USP Icon
Pay after delivery
USP Icon
Customers rate Zandri 9
USP Icon
More than 100,000 parts in the assortment

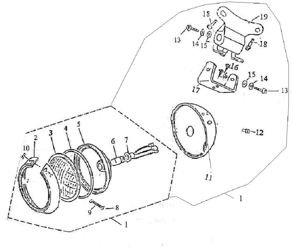
Headlight Berini Bella Milano black

Headlight Berini Bella Milano black
loader
Loading...

Spare parts Berini Bella Milano black