USP Icon
Pay after delivery
USP Icon
Customers rate Zandri 9
USP Icon
More than 100,000 parts in the assortment

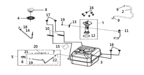
Fuel tank Sym Joymax Z 125 E4

Fuel tank Sym Joymax Z 125 E4
loader
Loading...

SYM Joymax Z 125i CBS E4 2019-2020 RED (R-010CA)