USP Icon
Pay after delivery
USP Icon
Customers rate Zandri 9
USP Icon
More than 100,000 parts in the assortment

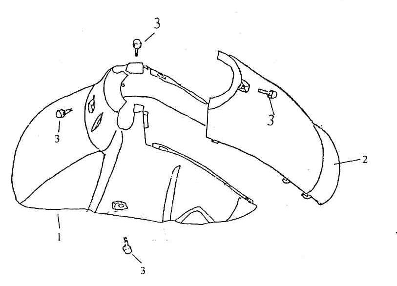
Front fender Iva Roma white black

Front fender Iva Roma white black
loader
Loading...

Spare parts Iva Roma white black