USP Icon
Pay after delivery
USP Icon
Customers rate Zandri 9
USP Icon
More than 100,000 parts in the assortment

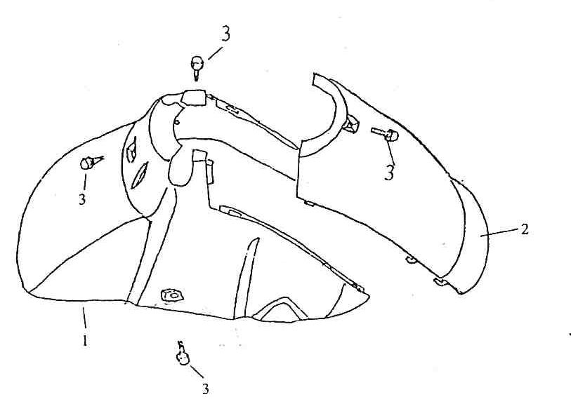
Front fender Eagle-Wing Torino coffee cream

Front fender Eagle-Wing Torino coffee cream
loader
Loading...

Spare parts Eagle-Wing Torino coffee beige