USP Icon
Pay after delivery
USP Icon
Customers rate Zandri 9
USP Icon
More than 100,000 parts in the assortment

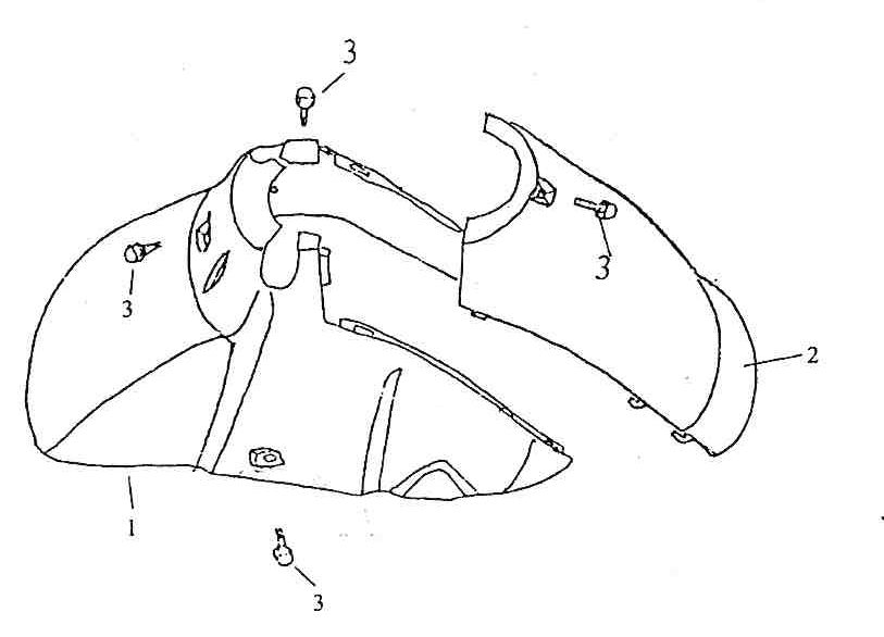
Front fender AGM Retro for 2013 blue white

Front fender AGM Retro for 2013 blue white
loader
Loading...

Spare parts AGM Retro <2013 blue white