USP Icon
Pay after delivery
USP Icon
Customers rate Zandri 9
USP Icon
More than 100,000 parts in the assortment

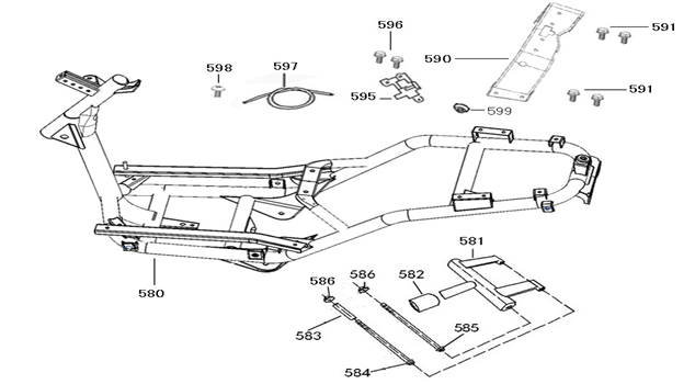
Frame parts China Star50 red white

Frame parts China Star50 red white
loader
Loading...