USP Icon
Pay after delivery
USP Icon
Customers rate Zandri 9
USP Icon
More than 100,000 parts in the assortment

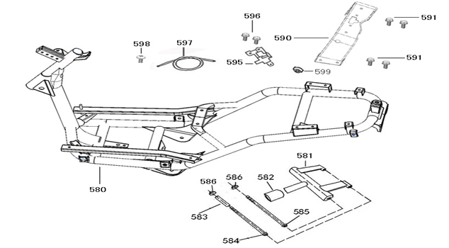
Frame parts AGM Star50 cream grey

Frame parts AGM Star50 cream grey
loader
Loading...