USP Icon
Pay after delivery
USP Icon
Customers rate Zandri 9
USP Icon
More than 100,000 parts in the assortment

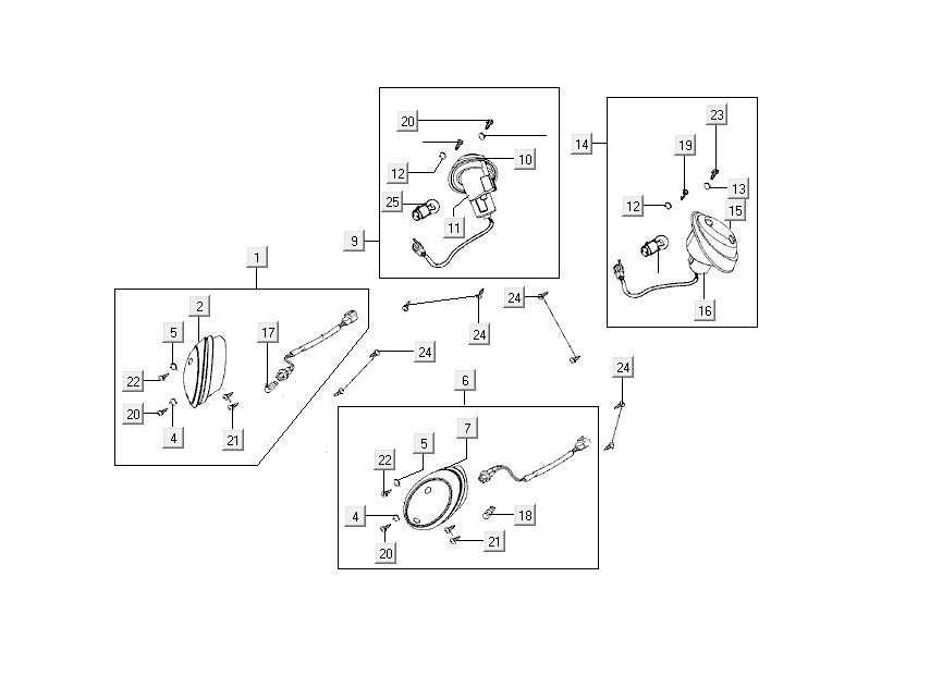
indicators Kymco Sento 4-stroke White

indicators Kymco Sento 4-stroke White
loader
Loading...