USP Icon
Pay after delivery
USP Icon
Customers rate Zandri 9
USP Icon
More than 100,000 parts in the assortment

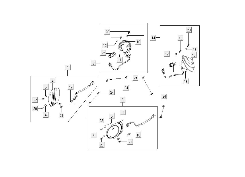
indicators Kymco Sento 4-stroke Black Gloss

Fits

Click below on your scooter model to find all compatible parts via our technical drawings.
  • Kymco Sento 50 4T <-2018 Euro 2
indicators Kymco Sento 4-stroke Black Gloss
loader
Loading...

Spare parts Kymco Sento 4-stroke black gloss