USP Icon
Pay after delivery
USP Icon
Customers rate Zandri 9
USP Icon
More than 100,000 parts in the assortment

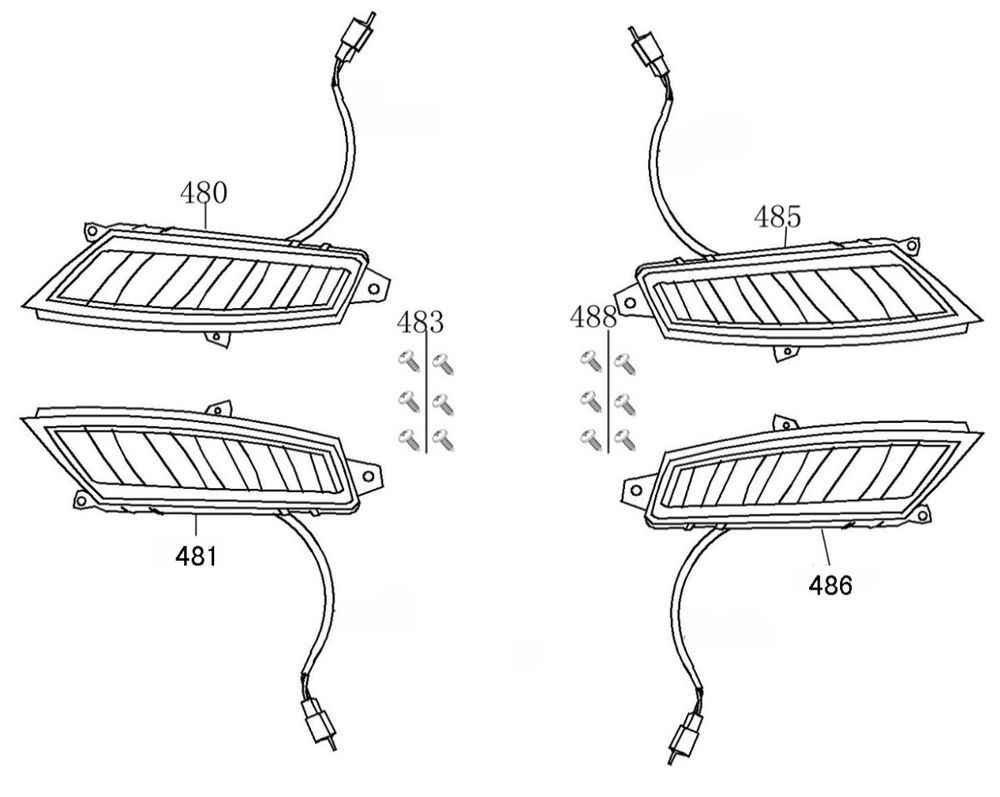
Turn signals Benzhou YY50QT-45A smokey

Turn signals Benzhou YY50QT-45A smokey
loader
Loading...