USP Icon
Pay after delivery
USP Icon
Customers rate Zandri 9
USP Icon
More than 100,000 parts in the assortment

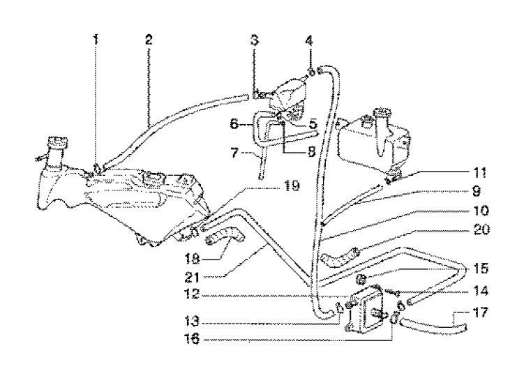
Gilera Runner 180cc FXR 2-stroke feeding system

Gilera Runner 180cc FXR 2-stroke feeding system
loader
Loading...

Spare parts Gilera Runner 180cc FXR 2-stroke