USP Icon
Pay after delivery
USP Icon
Customers rate Zandri 9
USP Icon
More than 100,000 parts in the assortment

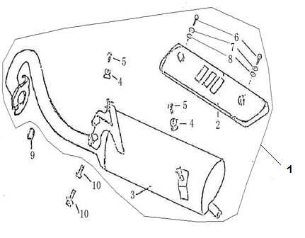
Exhaust Vom Bella black cream

Exhaust Vom Bella black cream
loader
Loading...

Spare parts Vom Bella black beige