USP Icon
Pay after delivery
USP Icon
Customers rate Zandri 9
USP Icon
More than 100,000 parts in the assortment

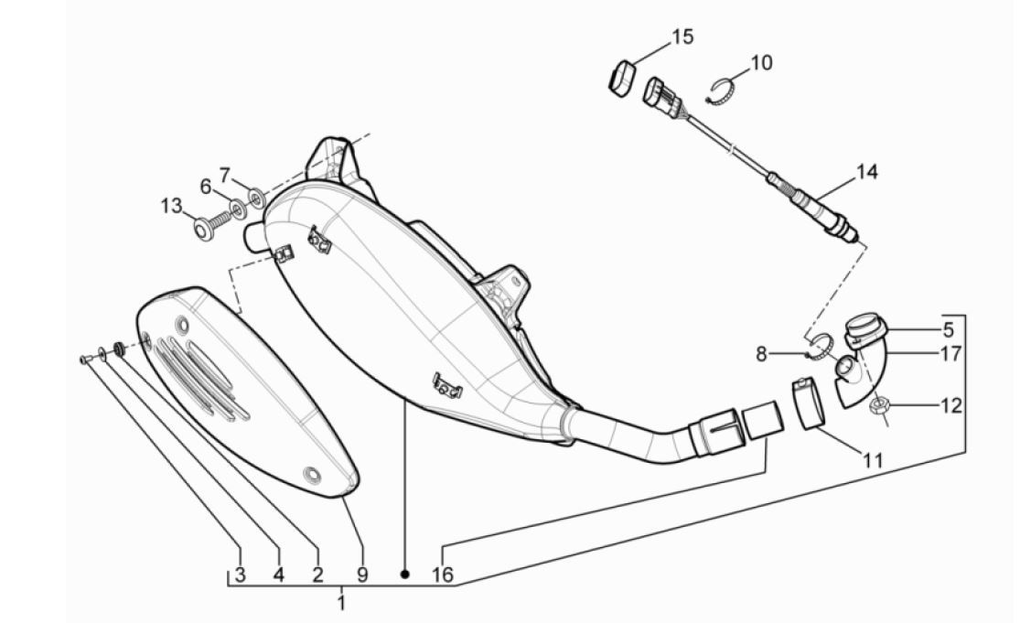
Exhaust Vespa GTV 250 4T 4V IE

Exhaust Vespa GTV 250 4T 4V IE
loader
Loading...

Vespa GTV 250 4T 4V IE (2006- 2009)