USP Icon
Pay after delivery
USP Icon
Customers rate Zandri 9
USP Icon
More than 100,000 parts in the assortment

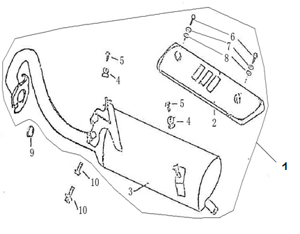
Exhaust Turbho RG50 blue cream metallic

Exhaust Turbho RG50 blue cream metallic
loader
Loading...

Spare parts Turbho RG50 blue beige metallic