USP Icon
Pay after delivery
USP Icon
Customers rate Zandri 9
USP Icon
More than 100,000 parts in the assortment

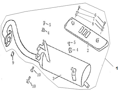
Exhaust Rover Exclusive blue creme metallic

Exhaust Rover Exclusive blue creme metallic
loader
Loading...

Spare parts Rover Exclusive blue beige metallic