USP Icon
Pay after delivery
USP Icon
Customers rate Zandri 9
USP Icon
More than 100,000 parts in the assortment

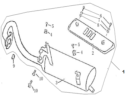
Exhaust China Retro black cream

Exhaust China Retro black cream
loader
Loading...

Spare parts China Grande Retro black beige