USP Icon
Pay after delivery
USP Icon
Customers rate Zandri 9
USP Icon
More than 100,000 parts in the assortment

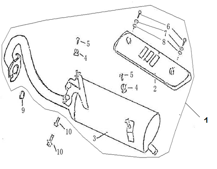
Exhaust BTC Grande Retro GT1 smokey

Exhaust BTC Grande Retro GT1 smokey
loader
Loading...

Spare parts BTC Grande Retro GT1 smokey