USP Icon
Pay after delivery
USP Icon
Customers rate Zandri 9
USP Icon
More than 100,000 parts in the assortment

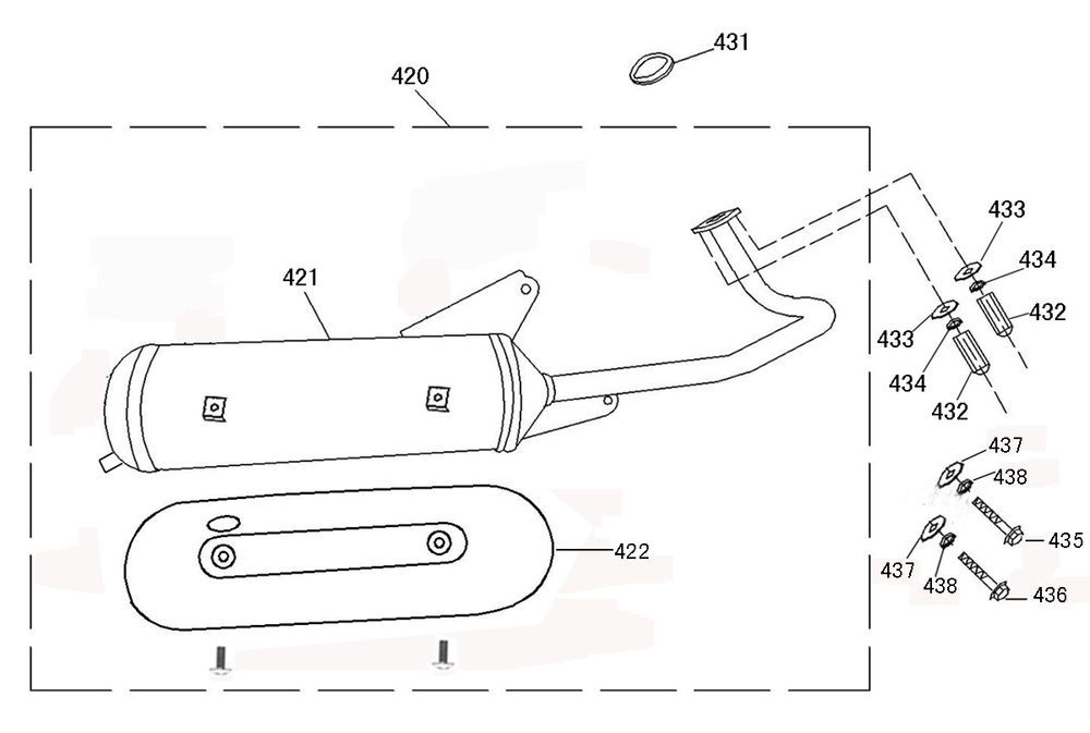
Exhaust Benzhou YY50QT-45A black

Exhaust Benzhou YY50QT-45A black
loader
Loading...