USP Icon
Pay after delivery
USP Icon
Customers rate Zandri 9
USP Icon
More than 100,000 parts in the assortment

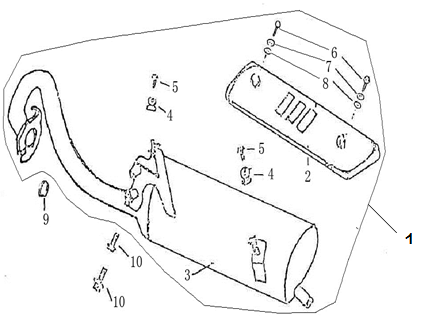
Exhaust AGM Retro for 2013 yellow cream

Exhaust AGM Retro for 2013 yellow cream
loader
Loading...

Spare parts AGM Retro <2013 yellow beige