USP Icon
Pay after delivery
USP Icon
Customers rate Zandri 9
USP Icon
More than 100,000 parts in the assortment

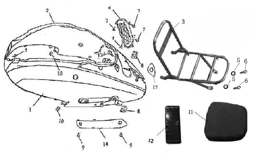
Motorcycle plating Iva Roma blue white

Motorcycle plating Iva Roma blue white
loader
Loading...

Spare parts Iva Roma blue white