USP Icon
Pay after delivery
USP Icon
Customers rate Zandri 9
USP Icon
More than 100,000 parts in the assortment

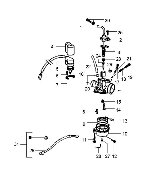
Carburetor parts Gilera Runner 98-2005 2-stroke

Carburetor parts Gilera Runner 98-2005 2-stroke
loader
Loading...

Spare parts Gilera Runner 98-2005 2-stroke