USP Icon
Pay after delivery
USP Icon
Customers rate Zandri 9
USP Icon
More than 100,000 parts in the assortment

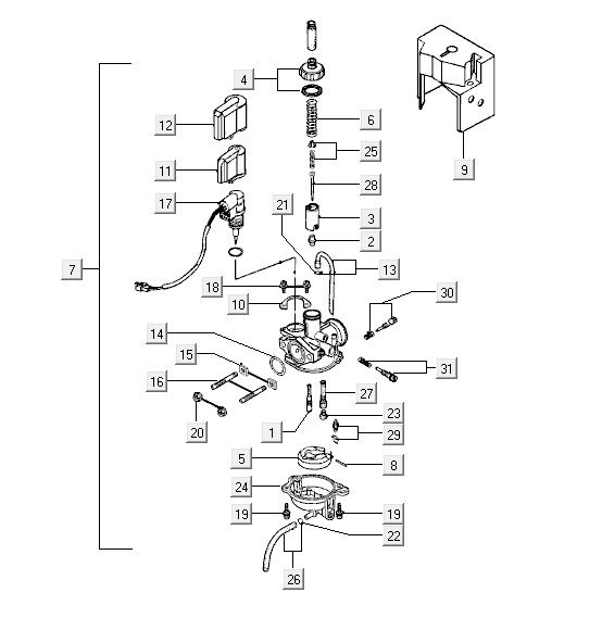
Carburetor Kymco Yup 2t ac blue

Carburetor Kymco Yup 2t ac blue
loader
Loading...