USP Icon
Pay after delivery
USP Icon
Customers rate Zandri 9
USP Icon
More than 100,000 parts in the assortment

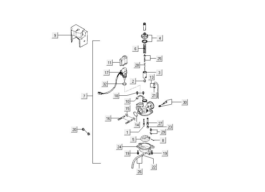
Carburetor - choke Kymco People 2-stroke blue

Carburetor - choke Kymco People 2-stroke blue
loader
Loading...

Spare parts Kymco People 2-stroke 50cc blue