USP Icon
Pay after delivery
USP Icon
Customers rate Zandri 9
USP Icon
More than 100,000 parts in the assortment

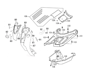
Hoods Benzhou YY50QT-15 brown

Hoods Benzhou YY50QT-15 brown
loader
Loading...