USP Icon
Pay after delivery
USP Icon
Customers rate Zandri 9
USP Icon
More than 100,000 parts in the assortment

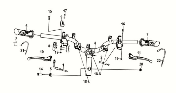
Cable - switch - handle supply Sym Orbit III 50 E5

Cable - switch - handle supply Sym Orbit III 50 E5
loader
Loading...