USP Icon
Pay after delivery
USP Icon
Customers rate Zandri 9
USP Icon
More than 100,000 parts in the assortment

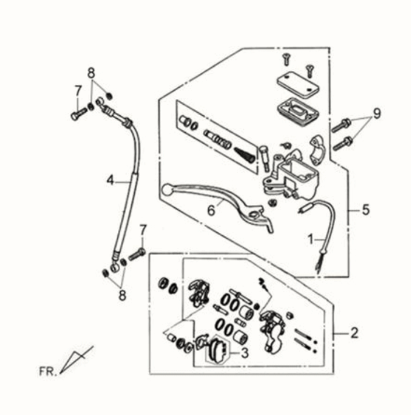
Brake brake caliper/handle Sym Fiddle II 125S

Brake brake caliper/handle Sym Fiddle II 125S
loader
Loading...