USP Icon
Pay after delivery
USP Icon
Customers rate Zandri 9
USP Icon
More than 100,000 parts in the assortment

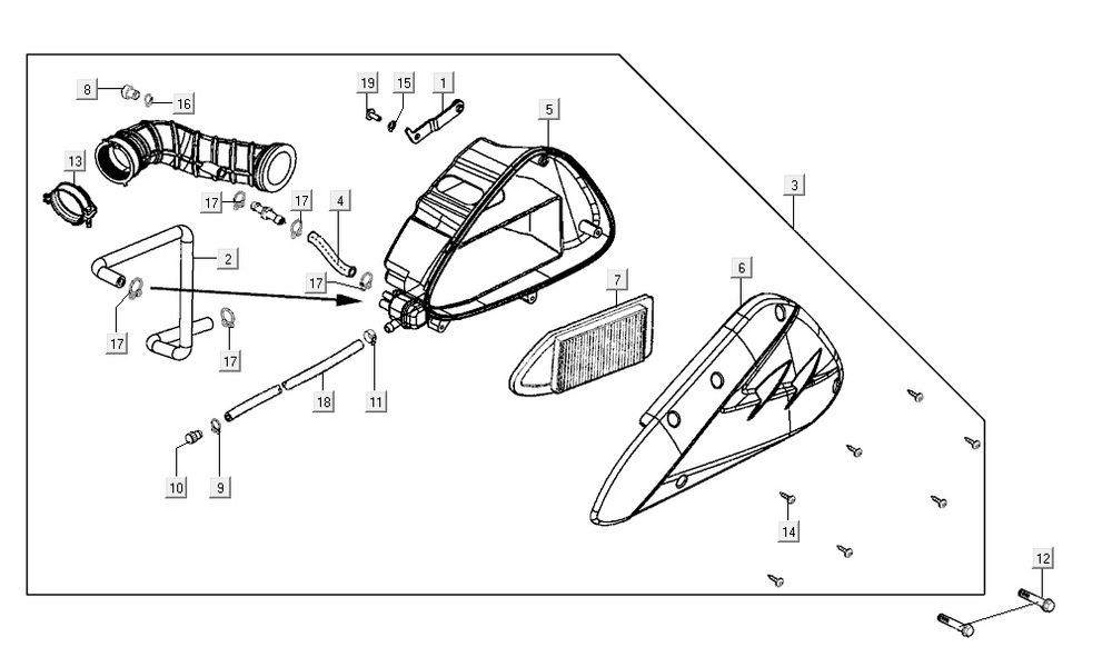
air filter AGILITY CITY 16 4T 125

air filter AGILITY CITY 16 4T 125
loader
Loading...